Today’s Patent – Multifunctional Rotating Control Device
The said invention (US12123275B1) was invented by Chunlei Wang, Qiang Zhao, Bo Kang, Wei Zhang, and Qijun ZENG and patented by USPTO on April 14th, 2024. Currently, it stands assigned to Unifusion Intelligent Technology Co Ltd.

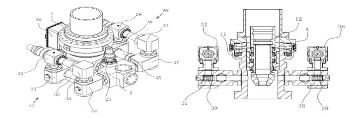
The disclosed invention is a multifunctional Rotating Control Device (RCD) that comprises an RCD assembly, a multi-way cross, and choke control modules. The RCD assembly features a main body and a rotating sealing assembly, with the body incorporating a bore-through hole, two side outlets, and a straight-through outlet. The rotating sealing assembly is positioned within the bore-through hole, while a straight-through cut-off valve is located at the straight-through outlet. Two choke control modules are connected respectively to the side outlets and the multi-way cross. One of the side chokes extends upward in line with the bore-through hole. These two choke control modules are integrated into the RCD assembly and both extend vertically in the direction of the bore-through hole.



