Today’s Patent – Electric Toothbrush Head
The above-mentioned product (US11872098B1) has been made by Lei Huang and patented by USPTO on October 9th, 2023. Currently, it stands assigned to the creator himself.

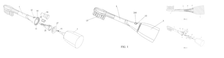
The disclosure is related to an electric toothbrush head mounted on a driving handle, comprising: a toothbrush head body provided with a connection hole, a connection component mounted in the connection hole and used to connect the toothbrush head body with the driving handle. The above-mentioned tooth is high vibration and noise less. The main objective of creation of this toothbrush is to enhance user experience as the current electric toothbrushes are highly reviewed in user discomfort in usage and utility.



